央行发布公告大象配资,为保持银行体系流动性充裕,2025年4月中国人民银行以固定数量、利率招标、多重价位中标方式开展了12000亿元买断式逆回购操作。
举报 相关阅读
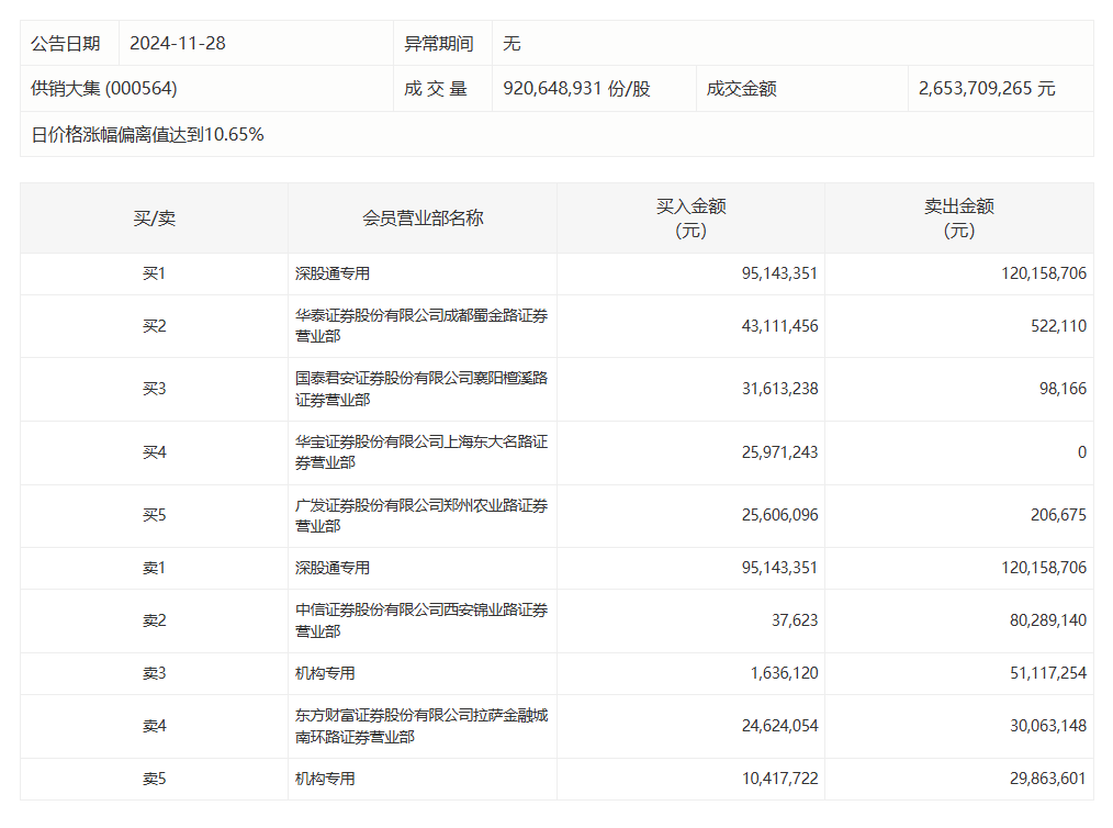
供销大集今日涨停,二机构净卖出6892.70万元供销大集今日涨停,二机构净卖出6892.70万元
0 2024-11-28 16:25
四川九洲今日跌停大象配资,二机构净卖出1.48亿元四川九洲今日跌停,二机构净卖出1.48亿元
0 2024-11-26 16:33
和而泰今日跌9.97%,方新侠席位净卖出1.49亿元和而泰今日跌9.97%,方新侠席位净卖出1.49亿元
0 2024-11-26 16:31
四川九洲今日涨停,一机构净卖出1100.99万元四川九洲今日涨停,一机构净卖出1100.99万元
0 2024-11-25 16:39
有研新材今日涨5.22% 陈小群席位买入1.54亿元大象配资有研新材今日涨5.22% 陈小群席位买入1.54亿元
0 2024-11-22 17:15 一财最热 点击关闭操盘贷配资提示:文章来自网络,不代表本站观点。